mg不朽情缘

  • 真空滤油机上单级旋片真空泵结构

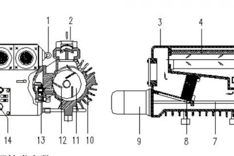
    真空滤油机上单级旋片真空泵结构: 真空泵凭证旋片式原理事情,,,偏心装置的转子(11)在泵体(10)内旋转,,,离心力迫使叶 片(12)沿着转子(11)的狭槽滑向泵体(10)内壁。。 。。。。。叶片(12)将泵体(10)和转子(11) 之间的月牙型空间脱离成数个事情腔。。 。。。。。当事情腔和进气口相连时,,,吸入气体。。 。。。。。随着转子(11) 的继续转动,,,被吸入的气体被压缩,,,进而排入到油疏散器(3)内。。 。。。。。恒定的压力差使真空泵润 滑油进入压缩腔。。 。。。。。润滑油和被抽气体一起排入油疏散器(3)内,,,通过排气过滤器(4)的作用 使得油、气疏散,,,润滑油回落到油…

    行业新闻 2025年3月13日
  • 脱水滤油机——油品生命周期的主要装备

       随着现代工业的生长和自动化水平的提高,,,机械装备在各行各业中都饰演着至关主要的角色。。 。。。。。在工业制造中,,,润滑油作为一种经常使用的液体,,,施展着要害的作用。。 。。。。。润滑油不但用于减轻机械零件的磨损,,,还可以降低能量的消耗,,,提高机械装备的效率。。 。。。。。可是,,,长时间的使用历程中,,,润滑油会受到种种污染物的扰乱,,,从而导致油品质量下降,,,使机械装备的使用寿命缩短,,,进而影响工业制造的质量和效率。。 。。。。。   为相识决这个问题,,,脱水滤油机应运而生。。 。。。。。脱水滤油机是一种专业的机械装备,,,可以有用地过滤润滑油中的杂质和水分,,,从而包管油品的质量…

    行业新闻 2025年3月13日
  • 先容润滑油过滤机的作用和应用领域

       润滑油过滤机是一种专门用于油品过滤的装备,,,普遍应用于种种润滑油的净化处置惩罚,,,以便包管机械的正常运转。。 。。。。。润滑油过滤机可以有用地去除液体中的杂质、污染物和水分,,,坚持油品的清洁度和稳固性,,,延伸机械的使用寿命,,,提高生产效率。。 。。。。。下面将先容其作用及应用领域。。 。。。。。   润滑油过滤机在工业生产中起着至关主要的作用,,,其主要有以下几个方面:   去除污染物和杂质   由于事情条件的重大性和机械零件之间的摩擦,,,润滑油中会爆发大宗的杂质和污染物,,,这些物质会对装备造成损害,,,甚至导致机械泛起故障。。 。。。。。润滑油过滤机可以有用…

    行业新闻 2025年3月13日
  • 透平油滤油机用来过滤油液去除悬浮颗粒及水分

       随着各行各业的快速生长,,,工程机械在现代化建设中饰演着至关主要的角色。。 。。。。。透平油滤油机作为工程机械领域中的主要装备,,,不但能够有用地包管机械装备的正常运转,,,还能够提高装备使用寿命。。 。。。。。   透平油滤油机的主要原理是接纳滤芯过滤透平油,,,并通过强制循环将油液送往受油部位。。 。。。。。透平油滤油机通常由过滤器、油泵、电念头及毗连受路等组成。。 。。。。。   透平油滤油机普遍应用于种种机械装备中,,,特殊是工程机械领域。。 。。。。。在装备运行历程中,,,透平油滤油性能够有用地过滤油液,,,去除悬浮颗粒及水分,,,镌汰机械装备的磨损和故障,,,从而提高了设…

    行业新闻 2025年3月13日
  • 润滑油过滤机的未来远景越来越辽阔

       润滑油过滤机是一种专门用于过滤润滑油的机械装备。。 。。。。。其主要作用是将润滑油中的杂质、土壤、水分等杂物举行过滤,,,从而包管润滑油的纯净度和流动性,,,使其起到优异的防腐、防锈、润滑等作用,,,同时也可以延伸机械装备的使用寿命和提率。。 。。。。。   现在,,,过滤机已普遍应用于多个领域,,,例如:机械工业、石化行业、汽车工业、冶金行业等等。。 。。。。。在这些领域,,,润滑油过滤机起到的作用很是主要,,,它可以有用地净化润滑油的因素,,,去除其中的污垢,,,降低机械装备的故障率和维修本钱,,,提高生产效率和经济效益。。 。。。。。   除此之外过滤机尚有一些越发普…

    行业新闻 2025年3月13日
  • 透平油滤油机可以知足差别品质要求的油润滑

       随着现代工业的快速生长,,,机械装备的数目和规模也在一直扩大。。 。。。。。其中,,,透平机是一种主要的装备,,,它被普遍应用于种种领域,,,如石油化工、航空航天、电力等行业。。 。。。。。透平机的运转历程中,,,需要用到油润滑,,,而油润滑的清洁水平对机械装备的正常运转和寿命起着至关主要的作用。。 。。。。。因此,,,透平油滤油机成为了很是主要的装备。。 。。。。。      透平油滤油机是一种专门用于透平机油滤和油润滑的装备。。 。。。。。该机接纳滤材和先进手艺,,,可以有用地对透平机油举行滤清、脱水和除杂,,,wan全抵达油润滑清洁度的要求。。 。。。。。包括粗滤器、细滤器、微滤器和细密过滤…

    行业新闻 2025年3月13日
  • 润滑油滤油机助力;;;;;で樾

        在现代工业生产中,,,种种装备和机械都需要使用润滑油以确保它们的优异运行。。 。。。。。然而,,,当润滑油使用一段时间后,,,会泛起一些化学转变和杂质的积累,,,这将导致机械装备的效率下降,,,寿命缩短,,,同时也会对情形造成污染。。 。。。。。为相识决这一问题,,,润滑油滤油机应运而生。。 。。。。。   近年来,,,许多企业和厂家最先接纳润滑油滤油机来维护自己的装备和机械,,,以确保他们能够优异运行,,,同时也为情形;;;;;ぞ∫环萘。。 。。。。。润滑油滤油机通过接纳的过滤手艺,,,纵然使用了一段时间,,,仍可以将润滑油中的杂质过滤掉,,,从而延伸机械装备的使用寿命,,,提高其使用效率。。 。。。。。…

    行业新闻 2025年3月13日
  • 透平油滤油机提高机械效率的装备

        随着机械行业的一直生长,,,对机械装备性能的要求也越来越高。。 。。。。。在机械运转历程中,,,透平油的作用禁止忽视。。 。。。。。可是长时间使用后,,,透平油中会累积大宗的杂质和沉淀物,,,严重影响机械运转效果。。 。。。。。为相识决这一问题,,,透平油滤油机应运而生。。 。。。。。   透平油滤油机是一种过滤油的装备,,,可用于过滤种种粘度的透平油、汽轮机油、液压油等。。 。。。。。它的作用是将透平油中的杂质和沉淀物过滤掉,,,恢复透平油的原有性能。。 。。。。。同时,,,滤油机还能够;;;;;せ底氨,,,阻止杂质对机械的损害。。 。。。。。     结构较量简朴,,,它由滤芯、滤杯、滤油泵、电机等组成…

    行业新闻 2025年3月13日
  • 关于拉伸油的一些知识点

    拉伸油是一种能量拉丝拉伸油,,,不含卤素、硫等有害元素,,,提供优异的油膜润滑和极压,,,能遭受金属流动时爆发的高温。。 。。。。。特殊适用于手机铝电池壳的冲压成型和铝材的拉深冲压,,,也可用于铜、碳钢、高镍钢等一样平常强度质料的拉深加工。。 。。。。。   拉伸油的特点   拉伸油具有以下的特点:   1.高粘度,,,包管一连有用的油膜厚度,,,阻止模具局部划伤或烧结;;;;;   2.极压和耐磨性,,,特殊设计用于加工高硬度和韧性的不锈钢;;;;;   3.润滑性能,,,使冲压尖锐的切口平滑,,,镌汰模具磨损和产品毛刺;;;;;防锈…

    行业新闻 2025年3月13日
  • 水乙二醇过滤杂质的过滤机有什么特点

    液压油系统的橡胶密封件大大都能和水乙二醇相容。。 。。。。。其中的合成橡胶如丁腈、丁酯、硅橡胶、氟橡胶等密封件以及尼龙、聚四氟乙稀、塑料制品均和水乙二醇相容性优异。。 。。。。。 在细密油过滤机中,,,当用户要把细密滤油机拿去过滤水乙二醇的时间,,,我们一样平常会建议用户选择油路不锈钢,,,另外装备的密封质料只管选用氟橡胶轴封。。 。。。。。这样搭配起来的水乙二醇细密过滤机才更耐久耐用。。 。。。。。 水乙二醇抗燃液压液是一种具有优良抗燃性,,,低凝性、润滑性及防锈性的高清洁度液压传动介质。。 。。。。。若是油品被污染了,,,定会影响与之对应的装备使用寿命,,,故,,,按期使用水乙二醇三级细密过…

    行业新闻 2025年3月13日

分类

联系mg不朽情缘

13452372176

可微信在线咨询

事情时间:周一至周五,,,9:30-18:30,,,节沐日休息

QR code
【网站地图】【sitemap】